在資本市場的風云變幻中,北海康成的股價漲幅無疑是令人矚目的現象級事件。
從今年年初的0.13港元低位起步,一路高歌猛進,截至8月13日收盤,北海康成的股價已飆升至2.1港元,較年初實現了超過15倍的驚人增長,漲幅高達1515%。這一驚人的漲幅,成為資本市場熱議的焦點話題。
在醫藥行業競爭激烈、政策環境瞬息萬變的當下,為何北海康成的股價卻能一路飆升,成為資本市場的寵兒?
利好不斷
北海康成的股價暴漲,主要得益于近期的雙重利好。
8月13日,北海康成宣布與百洋醫藥達成股份認購協議,根據協議,百洋醫藥將以每股1.34港元的價格,斥資1億港元認購北海康成約74,971,468股新股份,認購完成后,其持股比例將發生顯著變化,約占北海康成現有已發行股本的17.65%,及經擴大后股本的14.99%。

圖片來源:北海康成官微
北海康成作為國內罕見病領域的佼佼者,在罕見病藥物研發和商業化方面深耕多年,然而,國內支付環境對高價罕見病藥物的支持力度有限,導致其營收增長面臨一定壓力。
百洋醫藥則憑借其在創新品牌商業化平臺的深厚實力,在醫藥商業化領域有著廣泛的渠道資源和強大的營銷能力,此次合作無疑是優勢互補的絕佳典范。
此次戰略股權融資,對于北海康成而言意義重大。一方面,能夠優化其商業化業務模式,增強商業運營實力;另一方面,加速已上市產品的市場滲透,進一步提升市場競爭力。
該消息一經發布,市場反應迅速而強烈,北海康成股價在8月13日開盤后一路走高,截至當日收盤,漲幅高達25.75%,這一現象充分彰顯了市場對此次合作的高度認可和積極預期。
不僅如此,北海康成旗下產品亦是利好不斷。
2025年,國家醫保局首次設立“商保創新藥目錄”,并于7月11日正式啟動申報工作。北海康成的3款產品戈芮寧(注射用維拉苷酶β)、邁芮倍(氯馬昔巴特口服溶液)、海芮思(艾度硫酸酯酶β注射液)于8月12日通過初審,有望加速市場準入。



圖片來源:國家醫保局
戈芮寧:主要用于治療戈謝病。戈謝病是一種由于葡萄糖腦苷脂酶缺乏導致的遺傳性疾病,會引起多個器官系統的受累。戈芮寧作為酶替代療法,可補充患者體內缺乏的酶,改善患者的病情。
邁芮倍:一種用于治療阿拉杰里綜合征(ALGS)患者膽汁淤積性瘙癢的藥物。ALGS是一種罕見的遺傳性肝病,患者常出現膽汁淤積導致的嚴重瘙癢等癥狀。邁芮倍通過抑制回腸膽汁酸轉運蛋白,降低膽汁酸水平,從而緩解患者的瘙癢癥狀。
海芮思:北海康成從韓國引進的用于治療罕見病黏多糖貯積癥Ⅱ型的酶替代療法。黏多糖貯積癥Ⅱ型是一種罕見的遺傳性lysosomal storage disease,主要由于iduronate-2-sulfatase酶缺乏導致。海芮思通過補充患者體內缺乏的酶,改善患者的癥狀和生活質量。
通過初審名單這一動作,對于北海康成來說意義重大。
首先,通過初審意味著這3款產品的創新性和臨床價值得到了官方認可,為其未來的市場推廣奠定了堅實基礎。其次,假設進入商保創新藥目錄,藥品將獲得商業保險的支持,患者用藥的經濟負擔有望減輕,從而提高產品的可及性。
前有與百洋醫藥達成戰略合作協議并獲得戰略投資,后又迎來3款核心產品通過商保創新藥目錄初審的重磅消息,北海康成讓市場看到了其產品在創新性和臨床價值上的卓越表現,在罕見病藥物市場關注度和需求不斷攀升的當下,北海康成股價的飆升也在情理之中。
罕見病藥物黑馬
提到北海康成,就不得不提其自主研發的戈謝病治療藥物——戈芮寧。
戈謝病是一種家族性遺傳疾病,由葡萄糖腦苷脂酶缺乏引起,導致葡萄糖腦苷脂在溶酶體中蓄積,引發肝脾腫大、貧血、血小板減少、骨痛等癥狀,嚴重時可能危及生命。
在北海康成首個自主研發產品戈芮寧上市之前,戈謝病的治療方式有底物減少療法等藥物治療,比如米格魯司他、埃利格魯司他等,這些藥物口服給藥方便,患者依從性較高,但存在一些不良反應,如腹瀉、腹痛等。
特別是,對于一些脾臟嚴重腫大、引起壓迫癥狀或血小板極度減少的患者,可能會考慮進行脾切除術。然而,脾切除術后患者免疫力會下降,感染風險增加,且可能加速疾病的進展,導致其他器官受累。
今年5月,戈芮寧的上市為戈謝病患者帶來了新的希望。
北海康成自主研發的戈芮寧(注射用維拉苷酶β)獲得NMPA批準上市,用于12歲及以上青少年和成人I型和Ⅲ型戈謝病患者的長期酶替代治療。
戈芮寧是國內首個本土自主研發并進入臨床應用的用于治療I型和III型戈謝病患者的重組人源腦苷脂酶替代療法。大多數戈謝病患者為I型和III型,分別為慢性非神經病變型和慢性神經病變型。維拉苷酶β通過靜脈輸注特異性地補充戈謝病患者體內溶酶體中缺乏的葡萄糖腦苷脂酶。
戈芮寧的關鍵性臨床試驗于2024年8月取得積極頂線數據,是一項隨機、雙盲、劑量比較研究,旨在評估靜脈滴注維拉苷酶β每2周一次在初治戈謝病患者中的有效性、安全性和藥代動力學,并設有開放標簽的擴展期。
結果表明,該研究在60U/kg劑量組(P<0.0001)和較低的30U/kg劑量組(P<0.001)都成功達到了其主要療效終點,即治療9個月后受試者脾臟體積較基線的平均縮小百分比。驗證了其在酶替代治療領域的有效性與安全性。
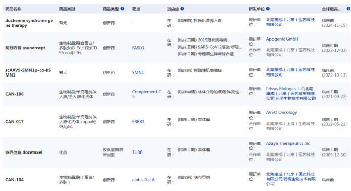
作為中國罕見病藥物第一股,北海康成除了已經上市的3款商業化產品外,還擁有7個具有可觀市場潛力的藥物資產組合,這些產品均針對一些較普遍的罕見疾病適應癥,比如亨特綜合征和其他溶酶體貯積癥、補體介導的疾病、血友病A等疾病。

北海康成部分在研管線圖片來源:藥智數據
結語
近來,北海康成在罕見病藥物領域取得了顯著的成就,其在研管線涵蓋了多種罕見病和罕見腫瘤疾病,展現了其在罕見病領域的深度布局和研發實力。
然而,罕見病藥物的研發和商業化也面臨著諸多挑戰。罕見病藥物的研發成本高昂,研發周期長,技術難度大,且面臨著政策法規、市場競爭等多方面的不確定性。此外,罕見病藥物的支付問題也是一個重要的挑戰,由于患者群體小、藥物價格高、醫保覆蓋有限,一定程度上限制了藥物的可及性和市場推廣。
如何在罕見病藥物領域實現可持續的發展,為患者帶來更多希望,仍是一項復雜且需要多方協作的系統工程。
