近日,晶泰科技宣布與DoveTree完成總訂單規模約470億港元(59.9億美元)的管線合作簽約,并已收到協議約定的首付款約4億港元(5100萬美元)。此次合作創下人工智能(AI)+機器人新藥研發領域訂單規模的新紀錄。
根據協議條款,晶泰科技與DoveTree就多款處于臨床前階段的大分子及小分子創新藥資產達成合作,并將針對一系列DoveTree指定的靶點進行新藥研發,DoveTree獨家享有相關藥物全球范圍的獨家開發和商業化權利。
作為回報,除首付款外,晶泰科技還有權獲得約3.85億港元(4900萬美元)的進一步付款,以及金額達約462億港元(58.9億美元)的潛在里程碑付款及銷售分成。
DoveTree由生物制藥界傳奇企業家Gregory Verdine博士創立,以中國國寶珙桐(俗稱鴿子樹)命名,旨在整合中美的藥物研發優勢資源,利用前沿的人工智能技術與創新研發范式,結合生物學的基礎科學底座,專注于重大疾病領域“first-in-class”(首創新藥)管線的開發及臨床轉化。
晶泰科技是一家世界前沿的基于量子物理、人工智能(AI)與機器人技術驅動的創新型研發平臺。公司由溫書豪、馬健及賴力鵬三位麻省理工學院物理學博士后于2014年在美國創立,2015年落地深圳。2024年6月,晶泰科技(02228.HK)在香港交易所主板掛牌上市,被稱為“AI制藥第一股”。
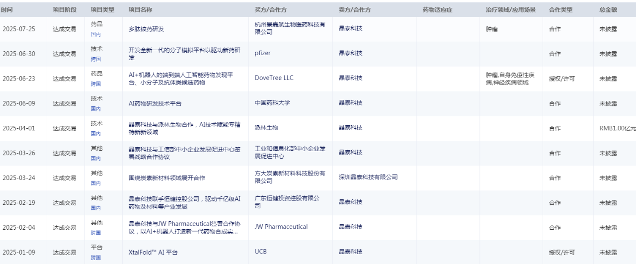
近年來,晶泰科技與各藥企合作不斷,據藥智數據,晶泰科技已達成40余筆對外合作。僅今年,晶泰科技就已達成超10筆合作,最高59.9億美元。

圖片來源:藥智數據
參考來源:晶泰科技;藥智數據
